Calculare antena FM

Sectiune pentru receptoarele radio, constructii, prezentari scheme si proiecte
Paul M
Membru
Membru
Mesaje: 217
Membru din: Lun Aug 28, 2023 12:27 pm
A apreciat de: 0
A fost apreciat de: 35 ori

#11

Pentru Radio FM, antena dipol stă vertical.
Și așa, cu un singur element, ce ai mai aproape de el va juca puțin rolul de reflector, deci în partea aceea recepția e ceva mai slabă. Dacă postul e destul de puternic și dacă nu este în spatele casei, asta nu se observă.
Dacă nu este vorba de DX, ar mege și un ”monopol vertical lambda pe patru”, poare cu ceva contragreutate mică., sau poate fără nimic, fără nici măcar acord (complicație inutilă).
Avatar utilizator
VAX
Membru
Membru
Mesaje: 777
Membru din: Sâm Mar 06, 2021 5:23 am
A apreciat de: 5 ori
A fost apreciat de: 155 ori

#12

Cititi cartea asta, are destula informatie.
https://www.electrokits.ro/antene-si-mo ... -yagi/amp/
Avatar utilizator
VAX
Membru
Membru
Mesaje: 777
Membru din: Sâm Mar 06, 2021 5:23 am
A apreciat de: 5 ori
A fost apreciat de: 155 ori

#13

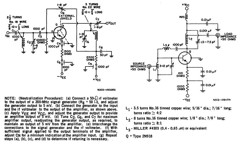
O antena buna trebuie sa aiba si un amplificator montat pe ea, pentru raport semnal/zgomot maxim.
Cititi in cartea asta:
Constructii de amplificatoare tranzistorizate pentru antene de televiziune, Editura tehnica 1974, A. Gamulescu.

https://www.electrokits.ro/constructii- ... ziune/amp/

Schemele sunt corecte, merg toate, am construit (in anii '80) multe amplificatoare dupa ele. Tranzistoare de tipul acela (BF200, AF239 etc) nu se mai gasesc, dar sunt pe piata tranzistoare mai bune (BFR-uri, 2SC3355 si altele mai noi). Eu le-am compartimentat (ecranat) pe etaje, cu tabla de fier stanata ( ca cea de la cutiile de conserve).
Cititi teoria din carte, sa va luminati in privinta asta.
Puteti sa intrebati pe forum daca aveti nelamuriri.
Avatar utilizator
VAX
Membru
Membru
Mesaje: 777
Membru din: Sâm Mar 06, 2021 5:23 am
A apreciat de: 5 ori
A fost apreciat de: 155 ori

#14

Inca sunt la vanzare (stoc in lichidare, la pret mic) MOSFET-uri BF963 (cu dubla poarta - tetrode), care au factorul de zgomot de 1,5 dB si sunt foarte bune pentru amplificatoare de UUS.

http://www.superelectronic2000.ro/prod.php?id=7183

Cumparati multe, ca nu va mai intalniti cu ocazia asta. Eu am cumparat 300 de bucati in urma cu cativa ani, sa fie la sertar. Tot de acolo am luat si 500 de BF167 (IPRS) - tot lotul, din motive de nostalgie. Sunt raritati in prezent.
Scheme de amplificatoare cu BF963 sunt date pe net. Sunt aceleasi ca la BF964, BF966 etc.
Avatar utilizator
VAX
Membru
Membru
Mesaje: 777
Membru din: Sâm Mar 06, 2021 5:23 am
A apreciat de: 5 ori
A fost apreciat de: 155 ori

#15

Cineva de pe forum a cumparat 50 de BF963 (a scaut stocul). Trebuie sa luati suficiente, ca nu se stie cate sunt functionale. Fiind MOSFET-uri, se strapung usor de la electrizarea prin frecare (in punga de plastic). Eu am cumparat de la un magazin din Craiova peste 200 de MOSFET-uri (diverse tipuri - BF981, BF964, BF966 etc), tot la 1 leu bucata (pret dubios de mic). Jumatate din ele erau strapunse (in primul rand toate BF981- cele mai valoroase). Pe ansamblu n-am iesit in pierdere.
Trebuie sa le testati inainte de utilizare, sa nu aiba portile G1 si G2 scurtcircuitate cu substratul (legat la sursa). Cu un multimetru pe functia de ohm-metru, pe scala de 10 Mohmi.

============================

Inca mai sunt la vanzare tranzistoare BF200, BF509 si BF506 (ca BF200 dar PNP), BF479, alte tipuri de MOSFET-uri. Caurati cu Google in limba romana.
Sa cumpari si BF199 (varianta in plastic a tranzistorului BF173 ), ca merg bine in UUS, in montaj cu emitor comun neutrodinat. Merg la curent de colector mai mare (7-10 mA), cu distorsiuni de intermodulatie reduse.

https://megadinamic.ro/bf200/3209.htm
https://quintrix.ro/tranzistori?sort=pd ... 75&page=28
https://megadinamic.ro/bf199/3208.htm
https://megadinamic.ro/s/c1=componente- ... h=2/pg=14/
https://electronicservice.shopmania.biz ... ild-185402
https://ksp-electronics.ro/bf199-to-92-10525
https://www.electronicservice.ro/cumpar ... ild-185402


https://www.electronica.ro/catalog-iprs ... 1971.shtml
https://www.electronica.ro/catalog-tran ... easa.shtml
https://www.electrokits.ro/buletin-tehn ... istori-si/
https://www.electrokits.ro/buletin-tehn ... stoarelor/
https://www.hobby-electronics.ro/viewtopic.php?t=407
https://www.hobby-electronics.ro/downlo ... hp?id=2708
Avatar utilizator
hpavictor
Moderator
Moderator
Mesaje: 996
Membru din: Vin Mai 29, 2020 4:30 am
Localitate: Bucuresti
A apreciat de: 514 ori
A fost apreciat de: 507 ori

#16

Cautati pe Google :

j pole antenna fm broadcast band
Diferența dintre geniu și prostie este că geniul are limitele sale.
Iosif Vissarionovici Stalin a spus : „Orice greșeală are un nume și un prenume”
Nu te certa niciodată cu un prost. S-ar putea cei din jur să nu vadă diferența...




Audiosaurus Rex
Avatar utilizator
VAX
Membru
Membru
Mesaje: 777
Membru din: Sâm Mar 06, 2021 5:23 am
A apreciat de: 5 ori
A fost apreciat de: 155 ori

#17

Cititi aici despre J-pole:
https://en.wikipedia.org/wiki/J-pole_antenna
https://jhdzkj.tripod.com/antenna/jpole.pdf
https://m0ukd.com/calculators/slim-jim- ... alculator/

===============================
Sa fiti atenti ca in datele de catalog (IPRS) de la BF173 si BF167, BF215, au gresit ordinea terminalelor (vai de mama lor!). Este BEC, nu EBC. Ca la Siemens.

https://www.web-bcs.com/pdf/SH/BF/BF173.pdf
https://pdf.datasheetcatalog.com/datash ... /BF199.pdf

Montarea gresita duce la arderea tranzistorului.

===================================
Au crescut mult preturile la unele componente, la nivel international. Un tranzistor RF (BF763, Ft=1,8 GHz) care era la 1 leu bucata la un magazin din Craiova, in urma cu zece ani, se vinde pe ebay cu 10,95 $.
https://www.ebay.com/itm/123617289878
Poate pentru ca s-a sistat productia lor.
Cumparati de acum ce mai sunt ieftine la magazine, daca aveti de gand sa construiti ceva pe viitor.
Avatar utilizator
VAX
Membru
Membru
Mesaje: 777
Membru din: Sâm Mar 06, 2021 5:23 am
A apreciat de: 5 ori
A fost apreciat de: 155 ori

#18

Avatar utilizator
romanbun
Membru
Membru
Mesaje: 15
Membru din: Dum Mai 12, 2024 8:00 am
A apreciat de: 4 ori
A fost apreciat de: 5 ori

#19

Eu stau la 50 km de releu FM Oradea și 80km releu jud. Arad și sunt foarte mulțumit de rezultate cu această antenă, montată la o înălțime de cca 7 m, în pod. https://www.dipolnet.ro/antena_radio_fm ... _A0221.htm
Scrie răspuns